Brukertilfredshet i BUP fra ungdom til voksen
Sammendrag
Bakgrunn: Det gjennomføres få systematiske undersøkelser om pasientenes tilfredshet med tilbudet i barne- og ungdomspsykiatrien (BUP). Hos Folkehelseinstituttet finner vi mange undersøkelser fra somatikken og en god del fra voksenpsykiatrien (VOP), men nesten ingen fra BUP. I tillegg er det mangel på pasientenes perspektiv da det oftest er foreldrene som er blitt spurt.
Hensikt: Hensikten med studien er økt kunnskap om brukertilfredshet i BUP. Vi ville også finne ut om det er noen sammenheng mellom brukertilfredshet i BUP og egenrapportert helse, økonomi, utdanningsnivå, avbrutt utdanning og/eller uførhet i ung voksen alder.
Metode: Dataene til studien vår er hentet fra Helseundersøkelsen i BUP-klinikk ved St. Olavs hospital, som var en longitudinell kohortstudie med tre måletidspunkter. Ved det første tidspunktet deltok 717 ungdommer på 13–18 år i undersøkelsen, hvorav 650 unike ungdommer svarte på spørsmål om brukertilfredshet ved minst ett av tre måletidspunkter.
Resultat: Brukertilfredsheten synker over tid, og gruppen med affektive lidelser har størst fall i tilfredshet. Ungdommene som rapporterte om høy brukertilfredshet, rapporterte også om bedre helse, bedre økonomi, høyere utdanningsnivå og færre avbrudd i en påbegynt utdanning. Sannsynligheten for å motta hel uføretrygd i ung voksen alder er imidlertid uavhengig av hvor tilfreds de var med det tilbudet de fikk i BUP.
Konklusjon: Ungdommer som er lite tilfreds med tilbudet de får i BUP, strever på mange livsarenaer som unge voksne. Det kan gi varige følger for deltakelsen i arbeids- og samfunnslivet og bidra til økt utenforskap og segregering i samfunnet. Det er nødvendig med mer kunnskap om hvordan vi kan hjelpe denne gruppen ungdommer. En god start vil være å innføre systematiske målinger av brukertilfredshet i BUP, slik Grøvli-utvalget foreslo for ti år siden.
Referer til artikkelen
Westbye O, Lydersen S, Schei J. Brukertilfredshet i BUP fra ungdom til voksen. Sykepleien Forskning. 2022;17(88502):e-88502. DOI: 10.4220/Sykepleienf.2022.88502
Det er økende oppmerksomhet på brukernes egne erfaringer og tilfredshet med helsetjenestene. Innen både klinikk (1), forskning (2) og undervisning (3) er brukererfaringer en viktig og nødvendig del av arbeidet. Brukererfaringer kan også benyttes som ett av flere mål på kvaliteten på tjenesten og brukes delvis synonymt med utbytte av behandlingen (4, 5).
Økt brukermedvirkning og brukertilfredshet er ett av flere mål i regjeringens nasjonale helse- og sykehusplan for 2020–2023 (6). I tillegg er samhandling og medvirkning fra de unge og deres pårørende understreket i det nye pakkeforløpet for psykiske lidelser for barn og unge (7).
Brukernes involvering med å utvikle egen behandlingsplan er også en av indikatorene som tjenestene skal måles på i pakkeforløpet for psykisk helse og rus (8). En oppsummeringsstudie viste dessuten at feedback-informerte tjenester har positiv effekt på behandlingsrelaterte utfall (9).
Imidlertid er brukernes erfaringer og tilfredshet med barne- og ungdomspsykiatrien (BUP) lite undersøkt gjennom forskning og målinger som pasientopplevelsesundersøkelser (PasOpp).
Sintef Helse fant i 2005 at foreldre med yngre barn var mer tilfredse enn foreldre med eldre barn. Lange behandlingsepisoder virket positivt inn på tilfredsheten, mens lang ventetid virket negativt inn. Barn og unge var mindre tilfreds med behandlerne enn foreldrene, og det var en tendens til at yngre barn var mer tilfredse enn eldre barn (10).
Generelt var en stor andel av brukerne lite tilfreds med muligheten for medvirkning. Det var en positiv korrelasjon mellom foreldrenes og barnas svar på tilfredshet med BUP-poliklinikker. Funnene var basert på tre delstudier, der en av delstudiene kartla brukertilfredsheten hos 2253 foreldre og 1236 ungdommer (10).
Bjørngaard og medarbeidere undersøkte i 2007 sammenhengen mellom psykiske lidelser og brukertilfredshet for voksne. De fant at både mindre symptomer og bedre funksjon økte brukertilfredsheten (11).
En kvalitativ studie fra Bjønnes i 2020 peker på at ungdommer i BUP ønsker å delta mer aktivt i behandlingen, men at dette krever mer individuelt tilpasset behandling og endring av behandlingskulturen. Studien bygde på tre fokusgruppeintervjuer med femten ansatte i døgnavdelinger i BUP i Norge (12).
Kompetansesenter for brukererfaring og tjenesteutvikling (KBT) har utviklet og testet metoden «Min stemme teller» i BUP. I sin sluttrapport understreker de ungdommenes behov for å bli tatt på alvor, bli hørt og samtidig få konkrete råd om hvordan de kan håndtere sine vansker (13).
I sin siste evalueringsrapport av pakkeforløp for psykisk helse og rus sier Sintef: «Mange pasienter får verken reell innflytelse over eget behandlingsopplegg eller informasjon om pakkeforløp». De sier videre at tjenestene har lang vei å gå før målene i pakkeforløp for psykisk helse og rus blir nådd (14).
Hensikten med studien
Brukertilfredshet måles jevnlig i helsetjenestene i Norge i dag. Særlig gjelder dette i spesialisthelsetjenestene (15). Vi ser flere undersøkelser i somatikken, noen færre innen psykisk helsevern for voksne – og færrest innen BUP. Og i BUP – som i andre tjenester til barn og unge – er det ofte foreldrene som blir spurt om sine erfaringer med tjenesten, og i mindre grad barna og ungdommene selv (16).
Undersøkelsene er i all hovedsak tverrsnittsundersøkelser der man måler brukertilfredsheten på et tidspunkt i tjenesten. Hvorvidt brukertilfredshet er en opplevelse som er stabil over tid hos brukerne, er ikke blitt målt tidligere blant unge som har fått et behandlingstilbud i BUP.
I denne studien ville vi undersøke følgende:
- Endrer brukertilfredsheten i BUP seg over tid, og er det forskjell på ulike diagnosegrupper?
- Er det en sammenheng mellom brukertilfredshet i BUP og opplevd helse, økonomi, utdanning, avbrutt utdanning og/eller uførhet i ung voksen alder?
Metode
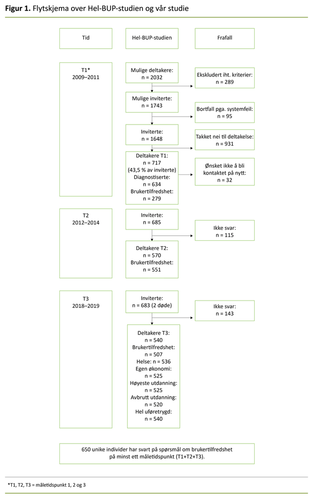
Denne studien brukte data fra Helseundersøkelsen i BUP-klinikk ved St. Olavs hospital (Hel-BUP), som er en longitudinell kohortstudie av 717 ungdommer. Helseundersøkelsen inkluderte alle pasienter ved poliklinikker og sengeposter ved BUP-klinikk på St. Olavs hospital i perioden 2009–2011, og disse ble igjen invitert til oppfølgingsstudier tre og ni år senere.
Ved T1 (tidspunkt 1) var medianalderen 15,6 år, og 55 prosent av utvalget var jenter. I Hel-BUP-undersøkelsen svarte 650 unike ungdommer på spørsmål om brukertilfredshet på ett eller flere tidspunkter. Figur 1 gir en nærmere presentasjon av utvalget i Hel-BUP og studien vår.
Instrumenter
For variabelen brukertilfredshet ble det brukt ulike spørsmål ved de tre målingene, men alle med en femdelt Likert-skala som svaralternativ. Ved T1 ble ungdommene spurt om «tilbudet ved klinikken hjalp meg». Spørsmålet ved T1 ble utarbeidet av Hel-BUP-prosjektet og har ikke vært brukt i andre studier.
Ved T2 ble ungdommene spurte: «Hva synes du om hjelpen du fikk fra BUP?», og ved T3: «Var behandlingen du fikk ved BUP-klinikk, alt i alt, tilfredsstillende?» Ved T2 og T3 i Hel-BUP-studien var spørsmålene tilpasset brukertilfredshetspørsmål brukt i PasOpp-undersøkelsene (17).
Ved T1 var alle tilknyttet BUP, ved T2 var noen tilknyttet BUP, mens andre var utskrevet – enten ferdigbehandlet eller avsluttet på grunn av alder. Ved T3 var det ingen som hadde en tilknytning til BUP. Ved T2 svarte derfor noen retrospektivt på spørsmålet om brukertilfredshet, og ved T3 gjorde alle det.
Diagnose ved T1 var psykiatrisk hoveddiagnose og var satt i henhold til International Statistical Classification of Diseases and Related Health Problems, 10th revision (ICD-10) multi-axial diagnostics (axes I–VI).
I vår studie ble diagnosene ved T1 delt i kategoriene «affektive lidelser» (n = 149), «nevroutviklingsforstyrrelser» (n = 249), «spiseforstyrrelser / traumer / dissosiative lidelser / OCD» (n = 101), «annet» (n = 86) og «ingen diagnose» (n = 49).
De unge voksne ble spurt: «Hvordan er helsen din nå?» med en firedelt Likert-skala som svaralternativ, «Hvordan vil du beskrive din økonomi?» med en femdelt Likert-skala som svaralternativ og «Høyeste fullførte utdanning» med seks nivåer som svaralternativ.
De ble også spurt om de hadde droppet ut av en utdanning som de hadde ønsket å fullføre, med svaralternativene «ja» eller «nei». Likeledes ble de spurt om de nå fikk ytelser fra Nav, med svaralternativene «ja» eller «nei». Hvis «ja» ble de bedt om å presisere hvilke ytelser de fikk, hvorav hel uføretrygd var ett alternativ.
Disse variablene ble også brukt i flere faser av Helseundersøkelsen i Nord-Trøndelag (HUNT) (18), med unntak av frafall i skole og ytelser fra Nav.
Analyser
For å studere endring over tid brukte vi en lineær blandet effektmodell med brukertilfredshet som avhengig variabel, tid som kategorisk uavhengig variabel, og deltaker som tilfeldig effekt. Samvariasjon i brukertilfredshet mellom tidspunktene ble beregnet med Pearsons korrelasjonskoeffisient.
For å undersøke assosiasjoner ved T3 brukte vi lineær regresjon med egenrapportert helse, økonomi og utdanningsnivå, en av gangen, som avhengig variabel, og brukertilfredshet som uavhengig variabel. Normalfordeling av residualer ble bekreftet med visuell vurdering av QQ-plott.
Vi brukte logistisk regresjon ved avbrutt utdanning og mottak av hel uføretrygd, en av gangen som avhengig variabel, og brukertilfredshet som uavhengig variabel.
Ettersom vi undersøkte flere hypoteser, brukte vi et signifikansnivå på 1 prosent for å redusere risikoen for falskt positive funn. Alle analysene ble justert for alder og kjønn, som kan være bakenforliggende faktorer, og utført i SPSS 25.
Etikk
For hovedprosjektet Hel-BUP gjelder følgende REK-vedtak og -referanser: T1: 4.2008.1393, T2: 2011/1435/REK Midt og T3: 2017/1486 REK Midt.
For vår studie gjelder REK-vedtak 2020;89873.
Resultater
Brukertilfredsheten endret seg lite fra T1 til T2. Ved T3 hadde brukertilfredsheten sunket med 0,43 poeng (p < 0,001) i forhold til T1 og med 0,41 poeng (p < 0,001) i forhold til T2 (tabell 1).
Gruppen som ikke i det hele tatt eller i liten grad opplevde behandlingen som tilfredsstillende ved T3, var på 27,0 prosent, som er en økning fra 14,4 prosent ved T1 og 14,7 prosent ved T2.
Korrelasjonen mellom brukertilfredshet ved de tre tidspunktene var henholdsvis 0,433 (n = 216), 0,329 (n = 206) og 0,530 (n = 440), henholdsvis mellom T1 og T2, mellom T1 og T3 og mellom T2 og T3.
Brukertilfredsheten endret seg over tid
Analysene av diagnosegruppene bekreftet at brukertilfredsheten endret seg over tid (figur 2). Vi ser også at det var tydelige forskjeller mellom de ulike gruppene. Alle gruppene viste fallende brukertilfredshet fra T2 til T3, og gruppen med affektive lidelser hadde det største fallet fra T1 til T3.
Ved T3 var det diagnosegruppene «nevroutviklingsforstyrrelser» og «spiseforstyrrelser / traumer / dissosiative lidelser / OCD» som var mest tilfredse. P-verdien for interaksjonen mellom tid og diagnosegruppe var 0,043.
I vår studie rapporterte 40 prosent av kvinnene og 22 prosent av mennene selv om dårlig helse, mens 31 prosent av kvinnene og 28 prosent av mennene rapporterte om dårlig økonomi.
I vår studie rapporterte 40 prosent av kvinnene og 22 prosent av mennene selv om dårlig helse.
Det var 14 prosent av kvinnene og 9 prosent av mennene som rapporterte at de kun hadde fullført grunnskolen. Det var 17 prosent av kvinnene og 31 prosent av mennene som hadde fagbrev eller svennebrev, mens 27 prosent av kvinnene og 14 prosent av mennene hadde høyskoleutdanning. Av kvinnene hadde 39 prosent falt av en utdanning de egentlig hadde ønsket å fullføre, mot 31 prosent av mennene.
Jo mer tilfreds med BUP, jo bedre helse og økonomi
Studien viste en klar sammenheng mellom brukertilfredshet og egenrapportert helse, økonomi, utdanningsnivå og avbrutt utdanning (tabell 2). Jo mer tilfreds de var med hjelpen de fikk i BUP, jo høyere var den egenrapporterte helsen, økonomien og utdanningsnivået som voksne, og jo mindre var sjansen for at de hadde droppet ut av en påbegynt utdanning.
Av de som rapporterte om høyeste brukertilfredshet, hadde 26 prosent falt av en påbegynt utdanning, mens av dem som rapporterte om laveste brukertilfredshet, hadde 47 prosent falt av en utdanning de hadde ønsket å fullføre (tabell 3).
Regresjonskoeffisienten for egenrapportert helse i tabell 2 er 0,09. Det betyr at de med høyest brukertilfredshet i gjennomsnitt skårer 0,09 x 4 = 0,36 høyere på egenrapportert helse enn de med lavest brukertilfredshet, siden avstanden mellom lavest og høyest brukertilfredshet er på fire trinn.
Tilsvarende er effektene for økonomi og høyeste utdanning lik 0,14 x 4 = 0,56 og 0,23 x 4 = 0,92. Odds ratio for avbrutt utdanning når vi sammenliknet de med lavest og høyest brukertilfredshet, er 0,694 = 0,23. Disse effektene må sies å være klinisk betydningsfulle.
Vi så ingen sammenheng mellom brukertilfredshet og mottak av hel uføretrygd (p = 0,39). I vårt utvalg mottok 44 hel uføretrygd, N = 507. Disse fordelte seg jevnt over tilfredshetsskalaen (tabell 3).
Selv om vi ser klare sammenhenger mellom brukertilfredshet og flere av de avhengige variablene, sier dette ingenting om årsak og virkning.
Diskusjon
I et niårig perspektiv sank brukertilfredsheten blant ungdom i BUP, og det var pasienter med affektive lidelser som opplevde den største reduksjonen. Vi så at de som var mest tilfredse ved T1, også var det ved T2 og T3.
Likedan så vi en sammenheng mellom brukertilfredshet og egenrapportert helse, økonomi og utdanningsnivå. Vi så også en sammenheng mellom brukertilfredshet og avbrutt utdanning. Derimot var det ingen sammenheng mellom brukertilfredshet og hel uføretrygd.
Brukertilfredshet i BUP
De fleste voksne var tilfreds med tilbudet de fikk i BUP-klinikken. Voksne som tidligere hadde et tilbud i BUP, var derimot mindre tilfredse ni år etter at de fikk tilbudet i klinikken, enn med én gang de fikk tilbudet og like etter at de hadde fått tilbudet. Kanskje er ungdom engstelig for å gi negativ respons når de er i behandling fordi det kan gå ut over dem selv og behandlingen deres (19).
Mindre brukertilfredshet etter ni år kan også forstås som bedre innsikt i egen psykiske helse og påvirkningen den har på eget liv. I overkant av en av fire ungdommer som kom til BUP i perioden 2009–2011, var som voksne ikke tilfreds med den hjelpen de fikk.
Tilsvarende målinger fra norske sykehus i somatikken (døgnopphold) er 3 prosent (20) og 8 prosent for pasienter med erfaringer fra døgnopphold i voksenpsykiatrien (21).
Ranøyen og medarbeidere fant i sin studie av det samme materialet at ungdommer ved T1 med angst og/eller depresjon i stor grad hadde de samme lidelsene eller komorbide affektive lidelser tre år senere (22).
Voksne som tidligere hadde et tilbud i BUP, var mindre tilfredse ni år etter at de fikk tilbudet i klinikken.
Tidligere forskning har vist at kroniske lidelser påvirker tilfredsheten med livet og muligens kan påvirke brukertilfredsheten retrospektivt (23). Vedvarende vansker med angst og/eller depressive tanker kan gjøre at ungdommene mister tilliten til behandlingen, som igjen fører til lavere brukertilfredshet.
Også Gårdvik og medarbeidere fant i det samme materialet at tre av fire ungdommer fortsatt hadde en psykisk lidelse etter tre år, og at graden av komorbiditet hadde økt (24).
En stor andel av populasjonen i BUP har ADHD, og ADHD i barndommen er også assosiert med kroniske vansker i voksen alder (25). Disse faktorene kan være med på å forklare den noe lavere brukertilfredsheten i BUP sammenliknet med somatikken og VOP.
Brukertilfredshet og egenrapportert helse
Det er urovekkende at over en tredel av kvinnene og nesten en firedel av mennene i vårt materiale rapporterte om dårlig helse. Det er mer enn dobbelt så mye som funnene fra den siste befolkningsundersøkelsen i Nord-Trøndelag – HUNT4 (18).
Funnene i vår studie bekrefter tidligere funn som viser at mange som sliter med sin psykiske helse som ung, også gjør det i voksen alder (26). Kanskje kan det også forklare hvorfor Verdens helseorganisasjon (WHO) og norske styresmakter er urolige for virkningen mentale lidelser har på enkeltmennesket, familiene og samfunnet (27, 28).
Noen mentale lidelser er, i likhet med enkelte somatiske lidelser, mer langvarige og får stor betydning for den enkeltes evne til egenomsorg og omsorg for andre. Helsen kan påvirke personens funksjonsnivå, arbeidsevne og evne til å samhandle med andre mennesker (22).
Brukertilfredshet og egenrapportert økonomi
Tidligere forskning tyder på at dårlig økonomi og fattigdom påvirker personers liv fysisk og psykisk (29, 30), og i studien vår så vi en klar sammenheng mellom brukertilfredshet og egenrapportert økonomi.
I studien vår så vi en klar sammenheng mellom brukertilfredshet og egenrapportert økonomi.
Psykisk helse påvirker arbeidsevnen, som igjen påvirker økonomien. Har man ikke råd til neste husleie eller strømregning, skaper det angst for hvordan det vil gå, og det skaper frustrasjon og stress, som igjen påvirker både fysisk og mental helse.
I rapporten fra Levekårsundersøkelsen EU-SILC 2017 sier Statistisk sentralbyrå (SSB) at de ser en sammenheng mellom økonomi og helse, og at tilfredsheten med livet generelt øker jevnt med økende inntekt (30). Dette kan også være med på å forklare våre funn.
Brukertilfredshet og utdanning
Vi så også en sammenheng mellom de pasientene som var tilfreds med hjelpen de fikk i BUP, og høyeste fullførte utdanning i tillegg til avbrudd i en påbegynt utdanning. Vi vet at avbrutt utdanning og manglende fagbrev eller profesjonsutdanning vanskeliggjør egne jobbmuligheter, noe som kan bidra til lavere økonomi, som igjen kan gå ut over helsen (31).
Vi vet også at det stadig blir vanskeligere å få en jobb i Norge uten en formell fagutdanning, og at de jobbene som er tilgjengelig for personer uten formell kompetanse, ofte er i bransjer med mindre regulering og med dårligere lønns- og arbeidsvilkår.
Utdanning blir derfor av mange sett på som nøkkelen til en fremtidig trygg jobb. Det trenger nødvendigvis ikke være høyere universitetsutdanning – et ferdig yrkesrettet fagbrev kan være nøkkelen for senere suksess i arbeidslivet.
Faktorene helse, økonomi, utdanningsnivå og avbrutt utdanning henger tett sammen. Og studien viser at det er en sammenheng mellom brukertilfredshet i BUP og disse fire faktorene. Vi vet at dårlig mental helse er en av hovedårsakene til avbrutt utdanning fra videregående skole.
Avbrutt utdanning reduserer muligheten til å få et fagbrev eller en høyere utdanning, som igjen påvirker muligheten til å få en trygg jobb med en anstendig lønn – som også påvirker den fremtidige mentale og fysiske helsen. Disse faktorene kan være en forklaring på fallet i brukertilfredshet fra T1 til T3.
Brukertilfredshet og hel uføretrygd
Vi så ingen sammenheng mellom brukertilfredshet og mottak av hel uføretrygd. Samtidig så vi at 8,1 prosent av de voksne i vår studie rapporterte å være 100 prosent uføre. I befolkningen ellers er andelen 1,8 prosent for unge mellom 18 og 24 år og 3,5 prosent for voksne mellom 25 og 34 år, rapportert av SSB (32).
Vi så ingen sammenheng mellom brukertilfredshet og mottak av hel uføretrygd.
Dette tallet er som forventet ettersom våre respondenter var fra et klinisk utvalg, men det bekrefter også mange års statistikk om at psykiske helseplager er en av hovedårsakene til ung uførhet.
Mulige implikasjoner av studien
Det anbefales mer forskning om dette temaet. Spesielt ville det vært interessant med en dypere forståelse av hvorfor de unge voksne var tilfredse eller utilfredse. En kvalitativ undersøkelse kunne kartlagt subjektivt relevante faktorer som påvirker tilfredsheten hos ungdom i BUP.
Vår studie tyder på at standardmålinger av brukertilfredshet, som ble foreslått for over ti år siden i det som den gang ble kalt Grøvli-utvalget (33), kan gi relevant informasjon i klinisk arbeid i BUP. Kanskje kan slike målinger fange opp de ungdommene som senere sliter med egen helse, økonomi, lav utdanning og avbrutt utdanning.
Ved å se disse ungdommene og etablere gode tverretatlige team (34) som kan hjelpe dem videre i overgangen fra ungdom til ung voksen, kan man kanskje i større grad unngå reduksjon av egenopplevd helse, økonomi, utdanningsnivå og avbrutt utdanning (30).
Tidlig identifisering av og hjelp til pasienter med lav brukertilfredshet kan få stor betydning for individet, og det vil være god samfunnsøkonomi hvis flere lykkes med eget liv.
Styrker og svakheter ved studien
Den største svakheten ved studien vår er at det ble brukt ulike spørsmål til å måle brukertilfredshet ved de tre måletidspunktene. En annen svakhet ved denne studien er at den ikke skiller mellom ulike pasientforløp og/eller behandlingstilbud.
En styrke ved studien vår er at Hel-BUP-studien ved de to siste måletidspunktene tok utgangspunkt i PasOpp-undersøkelsenes spørsmål om brukertilfredshet. I tillegg var det mange deltakere ved minst ett av måletidspunktene, og responsraten var høy ved T2 og T3.
Konklusjon
Retrospektivt sank brukertilfredsheten signifikant ni år etter at ungdommene hadde fått et tilbud i BUP-klinikk ved St. Olavs hospital. De som var mest tilfredse ved T1, var det også ved T2 og T3. Ungdom med affektive lidelser hadde det største fallet i brukertilfredshet fra T1 til T3.
Mange av ungdommene som i sin tid fikk et tilbud i BUP, har fortsatt store problemer i livet. Særlig de som ikke var tilfreds med hjelpen de fikk i BUP, strever på flere plan. De opplever å ha dårligere helse, dårlig økonomi, de har lavere utdanning enn andre, og de dropper oftere ut av en påbegynt utdanning.
Disse faktorene påvirker hverandre gjensidig. Vi vet at utdanningsnivå og økonomi henger tett sammen, og at sosioøkonomiske forhold kan gå i arv. Det blir derfor svært viktig å fange opp disse ungdommene mens det ennå er tid, men da kreves det aktiv innsats fra alle involverte instanser.
Vi anbefaler at BUP iverksetter Grøvli-utvalgets forslag om regelmessig bruk av tilbakemeldingsverktøy, og at de ungdommene som skårer lavt på brukertilfredshet, følges opp tett av både spesialisthelsetjenesten og samarbeidende kommunale instanser.
Referanser
1. Helsedirektoratet. Veileder for poliklinikker i psykisk helsevern for barn og unge. Oslo: Helsedirektoratet; 2018. IS-1570. Tilgjengelig fra: https://www.helsedirektoratet.no/veiledere/psykisk-helsevern-for-barn-og-unge-veileder-for-poliklinikker/Veileder%20for%20poliklinikker%20i%20psykisk%20helsevern%20for%20barn%20og%20unge.pdf/_/attachment/inline/829f53aa-0b66-4139-8add-944c95d5b163:b03ce59e25e43dc7623f1b5940aff644ae83eb6a/Veileder%20for%20poliklinikker%20i%20psykisk%20helsevern%20for%20barn%20og%20unge.pdf (nedlastet 13.12.2021).
2. Weldring T, Smith SM. Patient-Reported Outcomes (PROs) and Patient-Reported Outcome Measures (PROMs). Health Services Insights. 2013;6:61–8. DOI: 10.4137/HSI.S11093
3. Hansen J, Lyngvær EK, Grønning K. Gode erfaringer med brukermedvirkning. Sykepleien; 2016;104(11):44–5. DOI: 10.4220/Sykepleiens.2016.59391
4. Bjørngaard JH, Andersson HW, Ose SO, Hanssen-Bauer K. User satisfaction with child and adolescent mental health services. Social Psychiatry Psychiatric Epidemiology. 2008;8:635–41. DOI: 10.1007/s00127-008-0347-8
5. Meld. St. 10 (2012–2013). God kvalitet – trygge tjenester. Kvalitet og pasientsikkerhet i helse- og omsorgstjenesten. Oslo: Helse- og omsorgsdepartementet; 2013.
6. Meld. St. 7 (2019–2020). Nasjonal helse- og sykehusplan 2020–2023. Oslo: Helse- og omsorgsdepartementet; 2019. Tilgjengelig fra: https://www.regjeringen.no/contentassets/e353a5d022d84deabd969a5fe043783e/no/pdfs/i-1194_b_kortversjon_nasjonal_helse.pdf (nedlastet 21.09.2021).
7. Helsenorge.no. Hva er pakkeforløp for psykisk helse og rus? Oslo: Direktoratet for E-helse; 2020. Tilgjengelig fra: https://www.helsenorge.no/psykisk-helse/pakkeforlop-for-psykisk-helse-og-rus/hva-er-pakkeforlop-for-psykisk-helse-og-rus/ (nedlastet 21.09.2021).
8. Helsedirektoratet. Pakkeforløp psykisk helse og rus. Beskrivelse av indikatorer for pakkeforløp for psykisk helse og rus. Oslo: Helsedirektoratet; 2020. Tilgjengelig fra: https://www.helsedirektoratet.no/pakkeforlop/dokumenter-pakkeforlop%20psykisk%20helse%20og%20rus/Pakkeforl%C3%B8p%20for%20psykisk%20helse%20og%20rus%20-%20beskrivelse%20av%20indikatorer.pdf/_/attachment/inline/db2e1a9e-7080-4ab1-bf3a-08385725ccaf:5e59774ccb871f688ff896dde587becaaf2dd5a4/Pakkeforl%C3%B8p%20for%20psykisk%20helse%20og%20rus_Beskrivelse%20av%20indikatorer.pdf (nedlastet 21.09.2021).
9. Gondek D, Edbrooke-Childs J, Fink E, Deighton J, Wolpert M. Feedback from outcome measures and treatment effectiveness, treatment efficiency, and collaborative practice: a systematic review. Administration and Policy in Mental Health and Mental Health Services Research. 2016;43(3):325–43. DOI: 10.1007/s10488-015-0710-5
10. Anderson HW, Ose SO, Sitter M. Psykisk helsevern for barn og unge – Behandlernes og brukernes vurderinger av behandlingstilbudet. Trondheim: Sintef; 2005. Sintef Helse-rapport STF78 A055009. Tilgjengelig fra: https://www.sintef.no/globalassets/upload/helse/psykisk-helse/pdf-filer/stf78_a055009.pdf (nedlastet: 13.12.2021).
11. Bjørngaard JH, Ruud T, Friis S. The impact of mental illness on patient satisfaction with the therapeutic relationship. Social Psychiatry Psychiatric Epidemiology. 2007;42:803–9. DOI: 10.1007/s00127-007-0229-5
12. Bjønnes S, Grønnestad T, Storm M. I’m not a diagnosis: adolsescents’ perspectives on user participation and shared decision-making in mental healthcare. Scandinavian Journal of Psychiatry and Psychology. 2020;8:139–48. DOI: 10.21307/sjcapp-2020-014
13. Høiseth JR. Sluttrapport: Min stemme teller. Rapport 2/2021. Trondheim: Stiftelsen Kompetansesenter for brukererfaring og tjenesteutvikling – KBT; 2021. Tilgjengelig fra: https://kbtkompetanse.no/wp-content/uploads/2021/05/2021-05-26-Sluttrapport-Min-stemme-teller.pdf (nedlastet: 20.12.2021).
14. Ådnanes M, Høiseth JR, Magnussen M, Thaulow K, Kaspersen SL. Langt igjen til mål i pakkeforløp for psykisk helse og rus [internett]. 04.03.2021 [hentet 13.12.2021]. Trondheim: Sintef; 2021. Sintef-rapport 2 2021: 00090. Tilgjengelig fra: https://www.sintef.no/siste-nytt/2021/langt-til-mal-i-pakkeforlop-for-psykisk-helse-og-rus/
15. Helsebiblioteket.no. PasOpp-undersøkelser – nasjonale brukererfaringer. Oslo: Helsebiblioteket; 2018. Tilgjengelig fra: https://www.helsebiblioteket.no/kvalitetsforbedring/brukererfaringer/nasjonale-brukererfaringsundersokelser-pasopp (nedlastet 26.01.2021).
16. Folkehelseinstituttet (FHI). Barn og unges erfaringer med psykisk helsevern – poliklinikk BUP. Oslo: FHI; 2018. Tilgjengelig fra: https://www.fhi.no/kk/brukererfaringer/sporreskjemabanken/barn-og-unges-erfaringer-med-psykisk-helsevern-poliklinikk-bup/ (nedlastet 26.01.2021).
17. Folkehelseinstituttet (FHI). Pasienters erfaringer med norske sykehus i 2019. Metodebeskrivelse og analyser for landet samlet. Rapport 2020:839. Oslo: FHI; 2020. Tilgjengelig fra: https://www.fhi.no/contentassets/1ed1cf501b0a43d58415dcbb3ab889e6/metodebeskrivelse-og-analyser-for-landet-samlet.pdf (nedlastet 08.02.2021).
18. Sund ER, Opdahl S, Rangul V, Gravaas BC, Eiksund S, Sliper JO, et al. Helse og kronisk sykdom i Trøndelag 2019. Helsestatistikk-rapport 2 fra HUNT4. Levanger: HUNT forskningssenter; 2020. Tilgjengelig fra: https://www.ntnu.no/documents/10304/1269212242/Delrapport_Helse_Kronisk+sykdom.pdf/6d581c05-4706-bc84-3330-e96ce4dbfb09?t=1585301810479 (nedlastet 20.12.2021).
19. Ådnanes M, Kaspersen SL, Melby L, Lassemo E. Pakkeforløp for psykisk helse og rus – fagfolks erfaringer første året. Trondheim: Sintef; 2020. Sintef-rapport 2020:00064. Tilgjengelig fra: https://www.sintef.no/publikasjoner/publikasjon/1799826/ (nedlastet 13.12.2021).
20. Folkehelseinstituttet (FHI). Pasienterfaringer med norske sykehus i 2015. Resultater etter en nasjonal undersøkelse. Oslo: FHI; 2016. PasOpp 2016:147. Tilgjengelig fra: https://www.fhi.no/contentassets/f1656ccea8d243acabd94ca7574155bf/vedlegg/84-nasjonalt.pdf (nedlastet 08.02.2021).
21. Folkehelseinstituttet (FHI). Pasienters erfaringer med døgnopphold i psykisk helsevern. Oslo: FHI; 2020. PasOpp 2020:545. Tilgjengelig fra: https://www.fhi.no/contentassets/a95980d9e40649d296e1e5fe08b37920/nasjonale-resultater.pdf (nedlastet 08.02.2021).
22. Ranøyen I, Lydersen S, Larose TL, Weidle B, Skokauskas N, Thomsen PH, et al. Developmental course of anxiety and depression from adolescence to young adulthood in a prospective Norwegian clinical cohort. European Child & Adolescent Psychiatry. 2018;27:1413–23. DOI: 10.1007/s00787-018-1139-7
23. Wahl AK, Hanestad BR. Psykososial intervenering og kronisk sykdom. Sykepleien. 2009;90(21):38–41. DOI: 10.4220/sykepleiens.2002.0062
24. Gårdvik KS, Rygg M, Torgersen T, Lydersen S, Indredavik MS. Psychiatric morbidity, somatic comorbidity and substance use in an adolescent psychiatric population at 3-years follow-up. European Child & Adolescent Psychiatry. 2021;30(7):1095–1112. DOI: 10.1007/s00787-020-01602-8
25. Du Rietz E, Jangmo A, Kuja-Halkola R, Chang Z, D’Onofrio BM, Ahnemark E, et al. Trajectories of healthcare utilization and costs of psychiatric and somatic multimorbidity in adults with childhood ADHD: a prospective register-based study. Journal of Child Psychology & Psychiatry. 2020;61(9):959–68. DOI: 10.1111/jcpp.13206
26. Rutter M, Kim-Cohen J, Maughan B. Continuities and discontinuities in psychopathology between childhood and adult life. Journal Child Psychology & Psychiatry. 2006;47(3–4):276–95. DOI: 10.1111/j.1469-7610.2006.01614.x
27. Verdens helseorganisasjon (WHO). Mental health. Genève: WHO; 2021. Tilgjengelig fra: https://www.who.int/health-topics/mental-health#tab=tab_1 (nedlastet 08.02.2021).
28. Prop. 121 S (2018–2019). Opptrappingsplan for barn og unges psykiske helse. Oslo: Helse- og omsorgsdepartementet; 2019. Tilgjengelig fra: https://www.regjeringen.no/no/dokumenter/prop.-121-s-20182019/id2652917/ (nedlastet 02.02.2021).
29. Kivimäki M, Batty GD, Pentti J, Shipley MJ, Sipilä PN, Nyberg S et al. Association between socioeconomic status and the development of mental and physical health conditions in adulthood: a multi-cohort study. The Lancet Public Health. 2020;5(3);e140–9. DOI: 10.1016/S2468-2667(19)30248-8
30. Barstad A. Økonomi, helse og livskvalitet. Oslo: Statistisk sentralbyrå (SSB); 2020. SSB-rapporter 2020/29. Tilgjengelig fra: https://www.ssb.no/sosiale-forhold-og-kriminalitet/artikler-og-publikasjoner/okonomi-helse-og-livskvalitet (nedlastet 05.10.2021).
31. With ML. Arbeid og utdanning. Oslo: Statistisk sentralbyrå (SSB); 2018. Tilgjengelig fra: https://www.ssb.no/sosiale-forhold-og-kriminalitet/artikler-og-publikasjoner/arbeid-og-utdanning (nedlastet 09.09.2021).
32. Statistisk sentralbyrå (SSB). Uføretrygdede. Oslo: SSB; 2021. Tilgjengelig fra: https://www.ssb.no/sosiale-forhold-og-kriminalitet/trygd-og-stonad/statistikk/uforetrygdede (nedlastet 09.09.2021).
33. Helse Midt-Norge, Helse nord, Helse sør-øst, Helse vest. Nasjonal strategigruppe II for psykisk helsevern og TSB. Arbeidsgruppe 3. Ressursbruk og oppgavefordeling innen psykisk helsevern for barn og unge. Pr. 29.06.2011. Tilgjengelig fra: https://docplayer.me/13546097-Nasjonal-strategigruppe-ii-for-psykisk-helsevern-og-tsb-arbeidsgruppe-3-ressursbruk-og-oppgavefordeling-innen-psykisk-helsevern-for-barn-og-unge.html (nedlastet 12.04.2021).
34. Nasjonalt kompetansesenter for psykisk helsearbeid – NAPHA. FACT-team for unge. Trondheim: NAPHA; 2020. Tilgjengelig fra: https://napha.no/content/24269/oppsokende-fact-team-for-unge-i-gang (nedlastet 17.09.2021).




























0 Kommentarer